Associating variable tables with applications
- In tables specified
for the operation:
This varies depending on whether or not you are using JCL or a centralized script.
- When using JCL or a centralized script:
- In the variable table identified in the TABLE directive in the job. See TABLE directive.
- In the variable tables identified in the SEARCH directive in the job. See SEARCH directive.
- When not using JCL or a centralized script, use the VARSUB statement in the script definition in the SCRPTLIB. For more information, see Variable substitution for jobs running on fault-tolerant workstations.
- When using JCL or a centralized script:
- In tables specified for the application:
- Specified using the MODIFYING CURRENT PLAN (MCP) panel.
- Specified using the LONG TERM PLAN panel.
- In the variable table associated with the run cycle, if any, for the application occurrence. See Creating run cycles with rules.
- In the variable table associated with the period, if any, for the application occurrence (for offset-based run cycles only). See Creating periods.
- In the global variable table. See Global variable table.
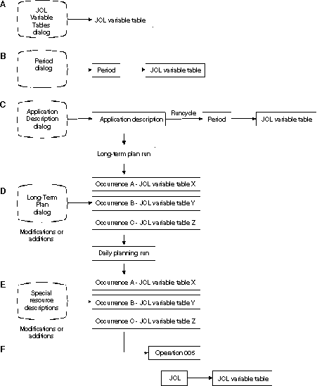
JCL variable handling shows how user-defined variables are matched to individual units of work. User-defined variables are specified in the JCL VARIABLE TABLES panel (A) and are stored in the IBM® Z Workload Scheduler database.
In the PERIOD panel (B), you can associate a variable table name with a period, and this table is then used if the period is used in an offset-based run cycle.
When creating an application in the APPLICATION DESCRIPTION panel (C), you can specify run cycles to be used when creating occurrences of the application in the plan. You can associate a table with a run cycle. If you use offset-based run cycles, you can associate a table with a period.
JCL variable table names for individual occurrences can be modified or added using the LONG TERM PLAN panel (D) or the MODIFYING CURRENT PLAN panel (E).
A JCL variable table name (F) can be referenced by statements within the job by using table directives (see JCL tailoring directives).
